
本技术涉及宠物笼配件结构的,特别涉及一种宠物笼内置锁,还涉及一种具有该内置锁的宠物笼前框。
背景技术:
1、随着生活水平的提高以及物质生活的丰富,人们开始逐渐追求精神上的丰富,而饲养宠物就是最为常见的方式之一;其中宠物中以狗和猫最为常见,并且为了方便饲养,通常饲养者都会购买相应的宠物笼,用于宠物睡觉等。
2、其中,为了便于宠物进出,通常都会在宠物笼的前框设置一扇能够开合的笼门,然后笼门是通过一些比如插销等不具有自锁功能的结构实现连接,但是一些大型宠物或高智商宠物,比如边牧等容易透过笼子自行打开门,锁紧效果差。
3、然而现有技术中具有自锁功能的宠物笼锁,一般为外置式,即由宠物笼的面框呈向外凸起状,其包括呈垂直焊接或螺接于面框的两锁壳,两锁壳内设置一个可以升降的锁片,该种结构的宠物笼锁,不但外形不够美观,而且不便于宠物笼的包装盒运输,凸起式的结构将会大大影响包装体积,其不适用于国内电商和跨境电商物流管理,增加了企业成本。
技术实现思路
1、本实用新型的目的是提供一种宠物笼内置锁及具有其的宠物笼前框,能够改变笼门锁外置的结构,便于包装和运输。
2、本实用新型的上述技术目的是通过以下技术方案得以实现的:
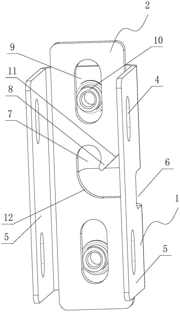
3、本实用新型提供了一种宠物笼内置锁,包括锁壳和锁片,所述锁壳呈u形,具有面板和设有固定孔且位于面板两侧的侧壁,其中一侧壁上开设延伸至面板的导向槽,所述锁片呈竖向滑动设于所述面板内部,锁片一侧设有开口朝向导向槽的锁槽,所述锁槽顶部向下凸起形成限位卡块。
4、作为优选,所述锁片上开设有滑槽,锁壳的面板上设有与所述滑槽限位配合的铆接螺母,锁片以滑槽长度方向呈升降安装在面板内部。
5、作为优选,所述限位卡块朝向锁槽开口一侧设有的导向斜面。
6、作为优选,所述锁槽底部设有圆弧导向面,面板中导向槽的底部具有倾斜导向面,所述倾斜导向面与导向斜面的倾斜方向呈相向设置。
7、作为优选,所述滑槽数量为两个且分布在锁槽的上下两端。
8、作为优选,所述锁壳中面板和侧壁由一体折弯成型。
9、本实用新型还提供了一种具有上述内置锁的宠物笼前框,包括由方管边框和筋条连接而成的面框板和笼门以及上述宠物笼内置锁,所述宠物笼内置锁的锁壳经两侧壁固定在面框板的方管边框上,所述锁片及锁壳的面板位于面框板和笼门之间,所述笼门上固定有与所述导向槽位置对应的锁杆。
10、本实用新型的有益效果:与现有技术相比,本实用新型利用u形锁壳的设计,利用两侧壁能够将整体固定在面框板的一侧,使得锁壳与面框板端面齐平,而使锁片及锁壳位于面框板和笼门之间呈内置状,改变现有向外凸起的结构,不但造型美观,而且能够缩小宠物笼的整体体积,便于包装和运输,节约运输成本。
技术特征:
1.一种宠物笼内置锁,其特征在于,包括锁壳(1)和锁片(2),所述锁壳(1)呈u形,其具有面板(3)和设有固定孔(4)且位于面板(3)两侧的侧壁(5),其中一侧壁(5)上开设延伸至面板(3)的导向槽(6),所述锁片(2)呈竖向滑动设于所述面板(3)内部,锁片(2)一侧设有开口朝向导向槽(6)的锁槽(7),所述锁槽(7)顶部向下凸起形成限位卡块(8)。
2.根据权利要求1所述的一种宠物笼内置锁,其特征在于,所述锁片(2)上开设有滑槽(9),锁壳(1)的面板(3)上设有与所述滑槽(9)限位配合的铆接螺母(10),锁片(2)以滑槽(9)长度方向呈升降安装在面板(3)内部。
3.根据权利要求1或2所述的一种宠物笼内置锁,其特征在于,所述限位卡块(8)朝向锁槽(7)开口一侧设有的导向斜面(11)。
4.根据权利要求3所述的一种宠物笼内置锁,其特征在于:所述锁槽(7)底部设有圆弧导向面(12),面板(3)中导向槽(6)的底部具有倾斜导向面(13),所述倾斜导向面(13)与导向斜面(11)的倾斜方向呈相向设置。
5.根据权利要求2所述的一种宠物笼内置锁,其特征在于:所述滑槽(9)数量为两个且分布在锁槽(7)的上下两端。
6.根据权利要求1或2所述的一种宠物笼内置锁,其特征在于:所述锁壳(1)中面板(3)和侧壁(5)由一体折弯成型。
7.一种宠物笼前框,包括由方管边框(21)和筋条(22)连接而成的面框板(a)和笼门(b)以及如权利要求1至6任意一项所述的宠物笼内置锁,其特征在于:所述宠物笼内置锁的锁壳(1)经两侧壁(5)固定在面框板(a)的方管边框(21)上,所述锁片(2)及锁壳(1)的面板(3)位于面框板(a)和笼门(b)之间,所述笼门(b)上固定有与所述导向槽(6)位置对应的锁杆(23)。
技术总结
本技术公开了一种宠物笼内置锁及具有其的宠物笼前框,包括锁壳和锁片,所述锁壳呈U形,具有面板和设有固定孔且位于面板两侧的侧壁,其中一侧壁上开设延伸至面板的导向槽,所述锁片呈竖向滑动设于所述面板内部,锁片一侧设有开口朝向导向槽的锁槽,所述锁槽顶部向下凸起形成限位卡块,与现有技术相比,本技术利用U形锁壳的设计,利用两侧壁能够将整体固定在面框板的一侧,使得锁壳与面框板端面齐平,而使锁片及锁壳位于面框板和笼门之间呈内置状,改变现有向外凸起的结构,不但造型美观,而且能够缩小宠物笼的整体体积,便于包装和运输,节约运输成本。
技术研发人员:钱红松
受保护的技术使用者:绍兴乐丰笼具设备有限公司
技术研发日:20231011
技术公布日:2024/6/23
相关知识
一种宠物笼内置锁及具有其的宠物笼前框的制作方法
一种宠物笼内置锁及具有其的宠物笼前框2024.pdf专利下载
一种安全可靠的宠物笼笼锁的制作方法
一种提高宠物舒适度的宠物笼的制作方法
宠物笼锁的制作方法
一种新型双开门宠物笼的制作方法
一种宠物笼具的制作方法
一种宠物外带笼的制作方法
一种宠物笼的制作方法
一种宠物笼笼门的制作方法
原文链接: 一种宠物笼内置锁及具有其的宠物笼前框的制作方法 https://m.mcbbbk.com/newsview1093253.html
| 上一篇: 宠物定位硬件、智能自行车锁开发助... | 下一篇: 天书奇谈宠物保护锁怎么解 |