
1.本实用新型属于猫爬架技术领域,具体涉及一种稳定型宠物猫用猫爬架。
背景技术:
2.猫爬架是一种为猫设计的架子,是一种宠物用品,供宠物猫休息和娱乐的用具,一般猫爬架由底板、支柱以及猫托板组成,现有的猫爬架的这些组件都是一体式的固定结构,无法进行灵活的转动,不方便收纳,为此本实用新型提出一种稳定型宠物猫用猫爬架。
技术实现要素:
3.本实用新型的目的在于提供一种稳定型宠物猫用猫爬架,以解决上述背景技术中提出的问题。
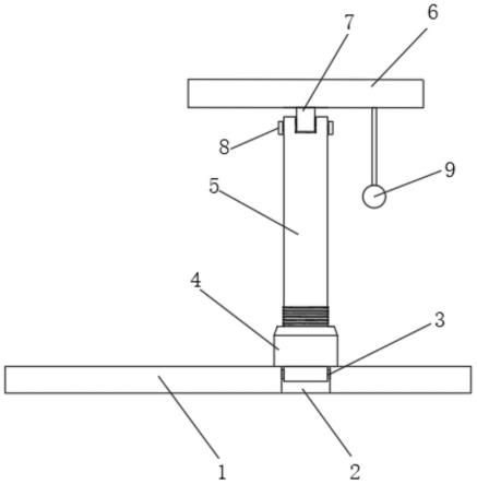
4.为实现上述目的,本实用新型提供如下技术方案:一种稳定型宠物猫用猫爬架,包括底板,所述底板上开设有隐藏槽,所述隐藏槽的一端通过第一转轴转动连接有支柱,所述支柱竖直向上延伸,且支柱的顶端设置有托板,所述托板的底部中心位置设置有延伸块,所述支柱的顶端与延伸块连接处设置有安装槽,所述延伸块延伸至安装槽内,且延伸块与安装槽通过第二转轴转动连接,所述延伸块的两侧对称设置有螺纹槽,所述安装槽的两侧表面与螺纹槽对应处设置有贯穿式的螺纹孔,所述支柱的顶端设置有一对锁紧螺栓,所述锁紧螺栓穿过对应的螺纹孔和螺纹槽旋合连接,所述支柱的外表面通过螺纹套设有一个螺纹锁紧套,且螺纹锁紧套的底部表面与底板的顶部表面相抵,所述隐藏槽的另一端延伸至底板的边缘并与外部连通,所述隐藏槽上开设有拓展槽。
5.优选的,所述底板的底部边缘开设有装配槽,所述装配槽内开合设置有配重杆,所述装配槽的轮廓底板的轮廓保持一致。
6.优选的,所述托板的底部通过线绳悬挂安装有悬挂球,所述托板的顶部外表面设置有一层粗麻垫层。
7.优选的,所述支柱的直径于隐藏槽的开口宽度相匹配,所述拓展槽的宽度与螺纹锁紧套的最大直径相匹配。
8.优选的,所述支柱的外表面下端设置有外螺纹,所述支柱的外表面上端缠绕固定设置有粗麻绳。
9.与现有技术相比,本实用新型的有益效果是:在本实用新型中设计了可以可以转动的支柱以及可以转动的托板,支柱可以通过螺纹锁紧套与底板相抵,保持竖直,托板通过两个锁紧螺栓穿过对应的螺纹孔和螺纹槽实现限位,保证猫爬架使用的稳定型,同时也可以在不使用时,旋转螺纹锁紧套实现支柱转动至隐藏槽内,从螺纹槽拧出锁紧螺栓,即可转动托板,使得延伸块与支柱呈垂直方向,使得整个猫爬架可进行水平放倒,方便收纳。
附图说明
10.图1为本实用新型的结构示意图;
11.图2为本实用新型的上半部分剖视图;
12.图3为本实用新型的下半部分的剖视图;
13.图4为本实用新型的底板俯视图;
14.图中:1、底板;2、隐藏槽;3、第一转轴;4、螺纹锁紧套;5、支柱;6、托板;7、延伸块;8、锁紧螺栓;9、悬挂球;10、第二转轴;11、螺纹孔;12、安装槽;13、螺纹槽;14、装配槽;15、配重杆;16、拓展槽。
具体实施方式
15.下面将结合本实用新型实施例中的附图,对本实用新型实施例中的技术方案进行清楚、完整地描述,显然,所描述的实施例仅仅是本实用新型一部分实施例,而不是全部的实施例。基于本实用新型中的实施例,本领域普通技术人员在没有做出创造性劳动前提下所获得的所有其他实施例,都属于本实用新型保护的范围。
16.请参阅图1至图4,本实用新型提供一种技术方案:一种稳定型宠物猫用猫爬架,包括底板1,底板1上开设有隐藏槽2,隐藏槽2的一端通过第一转轴3转动连接有支柱5,支柱5竖直向上延伸,且支柱5的顶端设置有托板6,托板6的底部中心位置设置有延伸块7,支柱5的顶端与延伸块7连接处设置有安装槽12,延伸块7延伸至安装槽12内,且延伸块7与安装槽12通过第二转轴10转动连接,为了方便灵活的转动调节,延伸块7的两侧对称设置有螺纹槽13,安装槽12的两侧表面与螺纹槽13对应处设置有贯穿式的螺纹孔11,支柱5的顶端设置有一对锁紧螺栓8,锁紧螺栓8穿过对应的螺纹孔11和螺纹槽13旋合连接,为了方便进行限位,保持稳定,支柱5的外表面通过螺纹套设有一个螺纹锁紧套4,且螺纹锁紧套4的底部表面与底板1的顶部表面相抵,为了保证支柱5能够保持竖直稳定的状态,隐藏槽2的另一端延伸至底板1的边缘并与外部连通,隐藏槽2上开设有拓展槽16,为了保证螺纹锁紧套4能够通过,保证支柱5能够转至水平状态。
17.本实施例中,优选的,底板1的底部边缘开设有装配槽14,装配槽14内开合设置有配重杆15,装配槽14的轮廓底板1的轮廓保持一致,为了保证平衡性。
18.本实施例中,优选的,托板6的底部通过线绳悬挂安装有悬挂球9,可作为猫的玩具,托板6的顶部外表面设置有一层粗麻垫层,为了起到保护的作用。
19.本实施例中,优选的,支柱5的直径于隐藏槽2的开口宽度相匹配,拓展槽16的宽度与螺纹锁紧套4的最大直径相匹配,为了方便螺纹锁紧套4通过。
20.本实施例中,优选的,支柱5的外表面下端设置有外螺纹,为了方便配合螺纹锁紧套4的旋转调节,支柱5的外表面上端缠绕固定设置有粗麻绳,为了起到保护的作用。
21.本实用新型的工作原理及使用流程:支柱5可以通过螺纹锁紧套4与底板1相抵,保持竖直,托板6通过两个锁紧螺栓8穿过对应的螺纹孔11和螺纹槽13实现限位,保证猫爬架使用的稳定型,同时也可以在不使用时,反向旋转螺纹锁紧套4实现支柱5转动至隐藏槽2内,螺纹锁紧套4可转动至与拓展槽16对齐,从螺纹槽13拧出锁紧螺栓8,即可转动托板6,使得延伸块7围绕第二转轴10转动,与支柱5呈垂直方向,此时托板6与底板1依然处于平行状态,使得整个猫爬架可进行水平放倒,整体高度降低,方便收纳。
22.尽管已经示出和描述了本实用新型的实施例,对于本领域的普通技术人员而言,可以理解在不脱离本实用新型的原理和精神的情况下可以对这些实施例进行多种变化、修
改、替换和变型,本实用新型的范围由所附权利要求及其等同物限定。
技术特征:
1.一种稳定型宠物猫用猫爬架,包括底板(1),其特征在于:所述底板(1)上开设有隐藏槽(2),所述隐藏槽(2)的一端通过第一转轴(3)转动连接有支柱(5),所述支柱(5)竖直向上延伸,且支柱(5)的顶端设置有托板(6),所述托板(6)的底部中心位置设置有延伸块(7),所述支柱(5)的顶端与延伸块(7)连接处设置有安装槽(12),所述延伸块(7)延伸至安装槽(12)内,且延伸块(7)与安装槽(12)通过第二转轴(10)转动连接,所述延伸块(7)的两侧对称设置有螺纹槽(13),所述安装槽(12)的两侧表面与螺纹槽(13)对应处设置有贯穿式的螺纹孔(11),所述支柱(5)的顶端设置有一对锁紧螺栓(8),所述锁紧螺栓(8)穿过对应的螺纹孔(11)和螺纹槽(13)旋合连接,所述支柱(5)的外表面通过螺纹套设有一个螺纹锁紧套(4),且螺纹锁紧套(4)的底部表面与底板(1)的顶部表面相抵,所述隐藏槽(2)的另一端延伸至底板(1)的边缘并与外部连通,所述隐藏槽(2)上开设有拓展槽(16)。2.根据权利要求1所述的一种稳定型宠物猫用猫爬架,其特征在于:所述底板(1)的底部边缘开设有装配槽(14),所述装配槽(14)内开合设置有配重杆(15),所述装配槽(14)的轮廓底板(1)的轮廓保持一致。3.根据权利要求1所述的一种稳定型宠物猫用猫爬架,其特征在于:所述托板(6)的底部通过线绳悬挂安装有悬挂球(9),所述托板(6)的顶部外表面设置有一层粗麻垫层。4.根据权利要求1所述的一种稳定型宠物猫用猫爬架,其特征在于:所述支柱(5)的直径与隐藏槽(2)的开口宽度相匹配,所述拓展槽(16)的宽度与螺纹锁紧套(4)的最大直径相匹配。5.根据权利要求1所述的一种稳定型宠物猫用猫爬架,其特征在于:所述支柱(5)的外表面下端设置有外螺纹,所述支柱(5)的外表面上端缠绕固定设置有粗麻绳。
技术总结
本实用新型公开了一种稳定型宠物猫用猫爬架,包括底板,所述底板上开设有隐藏槽,所述隐藏槽的一端通过第一转轴转动连接有支柱,所述支柱竖直向上延伸,且支柱的顶端设置有托板,所述延伸块延伸至安装槽内,且延伸块与安装槽通过第二转轴转动连接,在本实用新型中设计了可以可以转动的支柱以及可以转动的托板,支柱可以通过螺纹锁紧套与底板相抵,保持竖直,托板通过两个锁紧螺栓穿过对应的螺纹孔和螺纹槽实现限位,保证猫爬架使用的稳定型,同时也可以在不使用时,旋转螺纹锁紧套实现支柱转动至隐藏槽内,从螺纹槽拧出锁紧螺栓,即可转动托板,使得延伸块与支柱呈垂直方向,使得整个猫爬架可进行水平放倒,方便收纳。方便收纳。方便收纳。
技术研发人员:魏斌红
受保护的技术使用者:宁海捷顺工艺品有限公司
技术研发日:2022.04.14
技术公布日:2022/9/16
相关知识
宠物爬架的制作方法
「猫咪攀爬架制作方法」简单几步自制猫爬架又省了一百多
一种具有逗猫机构的宠物猫爬架.pdf
猫爬架如何选择
小猫的乐园——猫爬架(打造最适合宠物猫的活动场所)
一种猫爬架固定装置
猫爬架的作用及制作流程
【宠物猫爬架】
一种基于趣味设计的便装型猫爬架
用于宠物猫各生长阶段使用的宠物猫爬架
原文链接: 一种稳定型宠物猫用猫爬架的制作方法 https://m.mcbbbk.com/newsview1143258.html
| 上一篇: 猫爬架图片 | 下一篇: 主营宠物绳、猫爬架的都来上市了 ... |