关注
又是新的一周,适合回顾知新!这里是“AI新榜”的周更栏目“AI一周看点”,带你高效盘点过去一周的AI大事件、工具更新、行业新动态。也欢迎你在评论区交流最近的AI体验心得。
本周速览:
AI抖音网页版上线;字节跳动旗下海外AI助手Dola日活破千万;Vidu Agent全球上线;Meta收购Manus细节曝光,20亿美元10余天成交。
ChatGPT移动端累计收入已突破30亿美元;消费者在生成式AI领域的支出,到2030年预计将增长至6990亿美元。
OpenAI押注音频AI模型,或推出“无屏幕”AI硬件;AI硬件创业公司Looki完成超2000万美元A轮融资,蚂蚁领投、美团跟投。
国内资讯
2025年12月30日,AI抖音网页版上线,用户可直接通过抖音网页端访问。AI抖音网页版定位偏向工具属性,更侧重搜索与信息整合功能,与AI抖音App形成差异化互补。
其核心亮点是搭载了AI深度理解能力和图片理解能力,当用户在网页版进行搜索时,系统不再仅仅是简单地罗列包含关键词的视频列表,而是能够深入理解用户的问题意图,解析图片中的信息,从而提供更为精准和结构化的答案。

据悉,AI抖音前身为2024年8月上线的抖音搜索,2025年6月17日升级更名为AI抖音。该产品是字节跳动旗下继头条搜索、悟空搜索、闪电搜索之后的第四款搜索引擎,以短视频和图文内容为核心资源布局搜索市场。AI抖音整合AI深度理解能力,提供包含AI总结、真人分享与权威回应的多元回答模式。
据国家广播电视总局官方微信公众号消息,为整治“AI魔改”视频传播乱象,国家广播电视总局自2026年1月1日起,在全国范围内开展为期一个月的专项治理。
专项治理重点清理基于四大名著、历史题材、革命题材、英模人物等电视剧作品进行“AI魔改”的下列视频:一是严重违背原作精神内核和角色形象,颠覆基本认知,解构普遍共识;二是内容渲染血腥暴力、猎奇低俗,宣扬错误价值观,违背公序良俗;三是存在对中华文化挪用、篡改的突出问题,导致对真实历史时空、中华文明标识产生明显错位认知,冲击文化认同。专项治理同步清理将少年儿童所熟知、所喜爱的动画形象进行改编生成的各类邪典动画。
近日,AI硬件创业公司Looki完成超2000万美元A轮融资,本轮融资由蚂蚁集团领投,美团龙珠、华登、中关村资本跟投,老股东BAI资本连续两轮超额追投,阿尔法公社、同歌创投持续加码。
据悉,Looki成立于2024年5月,截至目前,一年多时间已连续完成4轮融资。Looki公司CEO孙洋曾任美团智能硬件负责人、Momenta高级研发总监,GoogleAssistant创始成员之一;CTO刘博聪曾任美团自动驾驶算法负责人、Pony.ai创始成员。

在完成了兼具技术与产业通路的资本矩阵后,Looki将重点加强组织人才建设、模型迭代、产品研发及供应链整合,加速公司在AI原生硬件赛道上的技术积累和下一代交互入口的探索。
近日,月之暗面近期完成5亿美元C轮融资,IDG领投1.5亿美元,阿里、腾讯、美团联合创始人王慧文等老股东超额认购,投后估值43亿美元。
据悉,王慧文已经累计投资月之暗面7000万美元。2025年12月31日,月之暗面创始人、CEO杨植麟发布内部信,公司有超过100亿元人民币现金储备。这一规模已经不输于IPO之后的智谱、MiniMax。
2025年11月,《华尔街日报》曾援引知情人士消息称,月之暗面的最新一轮融资已进入收尾阶段,估值有望提升至约40亿美元。另有一名知情人士透露,月之暗面已向部分潜在出资方表示,目标是在2026年下半年启动IPO。

1月1日,据《科创板日报》,月之暗面计划今年1月或3月上线多模态新模型,型号或为K2.1/K2.5。
据悉,Kimi K2是月之暗面旗下首个万亿参数开源模型,于2025年7月11日发布,是一款具备更强代码能力、更擅长通用Agent任务的MoE架构基础模型,总参数1T,激活参数32B。
2025年11月,月之暗面开源Kimi K2 Thinking模型,该模型是月之暗面基于“模型即Agent”理念训练的新一代Thinking Agent,原生掌握“边思考,边使用工具”的能力。在多项基准测试中表现达到SOTA水平,并在Agentic搜索、Agentic编程、写作和综合推理能力等方面取得全面提升。
近日,前大疆工程师、FITURE算法负责人薛立君2025年创立的卢登斯智能,曝光了其首款产品AI陪伴机器人cocomo。
从宣传图来看,cocomo的正面有一双大眼睛,搭载移动底座,兼具多模态情感交互与运动能力。除了cocomo外,卢登斯智能还曝光了桌面宠物机器人INU,官方称其为有点奇怪的小狗,两款产品都将亮相CES 2026。

据悉,卢登斯智能目前拿到了两轮融资,投资方包括李泽湘教授创立的XbotPark基金、线性资本。在大疆期间,薛立君主要从事人工智能算法研发工作。卢登斯智能的业务方向是家庭陪伴机器人,聚焦具身智能与情感交互,融合计算机视觉、语音交互、运动意图识别,通过AI算法实现个性化陪伴与场景适配,主打“安全、智能、有温度”的家庭体验。
近日,有消息称字节跳动旗下面向海外市场的AI助手应用Dola日活跃用户数已突破千万。该产品主打对话问答、写作翻译与图像能力,在Google Play的应用介绍中,其定位为写作、思考与创作的一站式助手。

据悉,2023年8月,字节跳动在海外推出AI助手应用Cici,主要面向菲律宾、印尼及拉美等新兴市场提供服务。Cici和豆包不仅在上线时间上和豆包基本一致,产品形象也和豆包极为相似,只不过Cici图标的头发比豆包更长。2025年底,Cici更名为Dola。
2025年12月31日,阿里通义大模型开源发布Qwen-Image-2512。据官方介绍,该模型实现了三大核心能力的飞跃式提升:更真实的人物质感、更细腻的自然纹理、更复杂的文字渲染,让生成的图像无限接近真实世界。

Qwen-Image-2512生成
模型整体表现也实现突破,在AI Arena超过1万局的用户盲测中,Qwen-Image-2512在开源模型中表现最优,并在与多款闭源模型的对比中依然展现出显著竞争力。
Qwen-Image-2512开源地址:
https://github.com/QwenLM/Qwen-Image
1月5日,新浪科技从知情人士处获悉,阿里巴巴旗下高德已布局世界模型,并计划基于世界模型推出一项新的产品应用。
目前,该模型已在空间智能评测基准World Score中,取得多项指标第一的成绩。World Score由著名华裔人工智能科学家、斯坦福大学教授李飞飞团队提出,也是首个支持多模态世界生成模型统一评估的开源基准测试。
此外,高德内部已成立具身业务部。在招聘平台上,高德放出了具身业务部的多个招聘岗位,包括具身智能产品专家、数据/算法工程师等方向。知情人士表示,机器人、机器狗等产品形态都在具身业务部的探索方向之中。
据悉,2025年8月,高德宣布全面AI化,全方位转向空间智能。并在同年9月推出了本地生活产品高德扫街榜。近期,阿里集团最新AI旗舰应用“千问”首个接入的阿里生态场景即是高德和高德扫街榜。
1月5日,据彭博社报道,阿里巴巴集团正在上线一项面向餐饮商家的AI服务,帮助餐厅以更直观的方式呈现店内环境。此举被视为阿里在中国餐饮和本地生活赛道中,与美团展开竞争的一项新举措。
据知情人士透露,高德地图即将支持餐厅通过上传照片或视频,自动生成3D店内展示内容,降低商家在宣传和营销方面的成本。这项技术基于通义万相视觉模型,计划初期向部分商家免费开放
2025年12月30日,Vidu Agent全球上线。据介绍,此次Vidu Agent全球上线实现了三大能力升级:支持20+种语言、200+种音色,覆盖英语、中文、西班牙语、法语、阿拉伯语等主流语言,并针对不同语言场景提供专业级音色库;深度整合多模型架构,覆盖商业广告、产品电视广告、故事片三大核心场景,并针对不同场景优化算法逻辑;推出“一键编辑分镜”功能,用户可通过拖拽式界面直接调整镜头顺序、时长、转场效果,甚至实时预览修改后的成片效果。

1月5日,哔哩哔哩对外宣布启动“AI创作大赛”,并同步开启征稿,这是B站面向全球创作者发起的首场AI主题创作赛事。

据了解,此次B站启动的AI创作大赛设置了两个主赛道:“开放赛道”与“三体改编赛道”。开放赛道强调原创内容,作品时长不低于3分钟,不限题材、不限风格,如悬疑、动画、情感等热门类型题材,均可进行创作,最大限度保留创作者的自由。
三体改编赛道由B站与三体IP版权方及运营方三体宇宙联合发起,参赛创作者可基于《三体》世界观及三体赛道规定命题进行改编或创新,以AI创作对《三体》中原著留白的空间进行拓展和复现。
在大赛奖金方面,B站共设置77个获奖席位,总奖金池超过300万元,其中一等奖奖金高达100万元。除现金奖励外,获奖者还将获得B站每周过亿流量扶持,有机会获得专业团队支持,开放赛道有机会将作品升级为长剧或电影项目。
海外资讯
据Appfigures统计,ChatGPT通过移动端实现的全球消费者支出已累计达到30亿美元,这一数字是ChatGPT自2023年iOS版本上线以来,在iOS和Android上的总收入。按订阅价格推算,其移动端付费用户规模约在1000至1200万,收入主要来自美国,其次是日本、德国等成熟市场。

据华尔街日报,Meta收购Manus的最终出价超20亿美元。在Meta接洽谈判初期,Manus正寻求新一轮融资,估值正好也是20亿美元。
与此同时,整个谈判过程只用了10余天完成。2025年12月初,Manus宣布年度经常性收入突破1亿美元,此时距离公司成立仅过去了8个月。同期,Meta开始与Manus就收购事宜进行谈判,有消息称扎克伯格及Meta多位高管都是Manus的忠实用户。
2025年12月29日,Counterpoint预测,2023-2030年消费者在生成式AI领域的支出,将从2023年的2250亿美元快速增长到2030年的6990亿美元,复合年增长率达到21%。

消费者在GenAI上支出主要可分为硬件和软件两大板块。其中在硬件部分,GenAI智能手机的出货数量预计可实现26%的复合年增长率,相关营收的复合年增长率也可达到16%。
而软件方面的增长则会更为显著:AI聊天机器人的月活有望增长近50亿人,个人助理和内容生成工具也将成为显著增长点。机构预计OpenAI仍将保有最大的用户群体,谷歌和微软的移动端GenAI用户数量增幅则会最为显著。
1月1日,据TheInformation报道,OpenAI正在全面强化自身的音频人工智能能力,为未来推出一款以语音为核心的个人AI设备铺路。多名知情人士透露,这款设备将以听觉交互为主要形式,而非依赖屏幕。
目前,ChatGPT的语音功能与文本回答背后所使用的模型并不相同。OpenAI内部研究人员认为,现有音频模型在准确性和响应速度上明显落后,促使公司在过去两个月内整合工程、产品和研究力量,集中攻克音频模型短板。其目标是打造一款可通过自然语音指令操作的消费级设备。
在硬件形态上,OpenAI与谷歌、亚马逊、Meta和苹果的判断相似:现有主流设备并非为未来的AI交互而生。OpenAI团队希望用户通过“说话”而非“看屏幕”与设备互动,认为语音才是最贴近人类交流本能的方式。
与OpenAI合作推进硬件项目的乔尼・艾维也强调,无屏幕设计不仅更自然,还有助于避免用户沉迷。他认为,新一代设备应当纠正以往消费电子产品带来的负面影响,并为此承担责任。
1月4日,苹果官方客服回应“国行苹果AI功能已启动灰度测试”。一位苹果公司技术顾问表示,国行苹果AI功能目前尚未正式推出,未来上线计划将通过官方渠道公布。该顾问还指出,预计仅iPhone 15 Pro及以上机型可支持此功能,并解释称:“AI算法对硬件要求极高,现有iPhone 15标准版的硬件性能尚无法满足需求。”
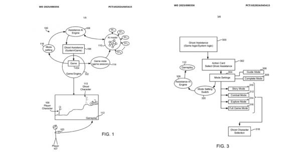
6. AI“幽灵玩家”教你玩游戏,索尼全新专利曝光
据科技媒体TweakTown报道,索尼已提交一项新专利,可通过游戏录像训练AI模型,为卡关的玩家提供针对性辅导。
专利文件指出,虽然电子游戏技术不断进步,但仍有不少非核心玩家会因为难度过高而弃坑游戏,虽然查攻略、看教程视频也能获取教程信息,但这种方法非常耗时,而且往往与玩家所处的具体场景并不完全匹配。
而专利中描述的系统将提供一个“幽灵玩家”来辅助真实玩家通关游戏,幽灵玩家的输入源自AI模型学习的游戏操作数据,而这些模型基于游戏录像、特定模式游玩训练而来。

AI模型会通过大量游戏视频来识别不同的游戏场景,并学习游戏中推进进度所需的操作。在玩家遇到卡关状况时,系统会尝试分析当前的游戏进度、状态数据,识别玩家到底为什么卡关。
随后这套系统会使用AI模型生成卡关解法,进而为“幽灵玩家”生成相应的控制与动画指令,指导玩家如何突破卡关。且这种指导操作并非基于其他玩家的通关视频,而是会根据玩家当下的游戏状态量体裁衣,一对一定制解决方案。在游玩过程中,幽灵角色还可以给出直观的视觉示范,向玩家展示如何破局,帮助玩家操控的角色顺利通关游戏。
7. 土耳其AI游戏创作平台Game Byte完成100万美元Pre-种子轮融资
近日,土耳其AI游戏创作平台Game Byte宣布完成100万美元Pre-种子轮融资,目前公司估值已经达到1000万美元。据悉,Game Byte在2025年1月成立,公司旗下产品可以直接将自然语言指令转换为游戏和可试玩广告。公司创始人兼CEO Can Erdoğan表示,所筹资金将用于在全世界范围内进一步推广Game Byte的游戏创作服务和功能。



免责声明:本内容来自腾讯平台创作者,不代表腾讯新闻或腾讯网的观点和立场。
举报
相关知识
宠物情感智能创业公司Traini完成超5000万元融资
硕腾年报披露丨净利20亿美元,宠物业务营收超44亿美元
Meta AI在日常任务中的应用
AI硬件的赚钱逻辑变了,不靠硬件靠订阅,毛利率堪比软件公司
AI硬件的赚钱逻辑变了!不靠硬件靠订阅,毛利率堪比软件公司
AI硬件,出海突围
阿联酋宠物行业预计到2025年,市场规模将激增至20亿美元
原创 AI+GC=内容产业被AI加持
这才是AI硬件的PMF? 欧洲公司推出AI导盲眼镜,是导盲犬价格 1/10
AI硬件崛起,涂鸦智能如何降低开发门槛? 2024年,得益于AI等新技术的推广应用,全球消费电子市场迎来回暖,行业微创新加速推出。Verified Market ...
原文链接: OpenAI或将推出“无屏幕”AI硬件;Meta收购Manus细节曝光,20亿美元10余天成交 https://m.mcbbbk.com/newsview1337281.html
| 上一篇: 男子被狗追咬,反应堪称教科书级别... | 下一篇: 从领养一只狗到迎接17只小狗,背... |