
本技术涉及宠物佩戴领域,尤其涉及一种智能宠物除静电项圈。
背景技术:
1、当今越来越多的宠物用品出现在市场上,不仅越来越具有实用性,同时美观性也有了很大的提高,其中宠物项圈是最常见的一种宠物用品,宠物项圈作用是为了保护、控制与牵引宠物。现有的宠物项圈功能较为单一,一般情况下是用来装饰和牵引宠物,随着宠物市场的竞争越来越大,传统的宠物项圈越来越不具备市场竞争力。
技术实现思路
1、鉴于此,本实用新型公开了一种智能宠物除静电项圈,除项圈的常规作用以外,还具有除静电的作用。
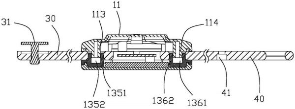
2、本实用新型公开了一种智能宠物除静电项圈,包括外壳、放电组件、第一固定带和第二固定带,其中,
3、所述放电组件固定于所述外壳内,所述外壳包括上壳和下壳,所述上壳与所述下壳均与所述放电组件电接触并分别位于所述放电组件的两侧,所述上壳和所述下壳是由导电材料制成的;
4、所述第一固定带的一端固定于所述外壳的第一侧,所述第一固定带的另一端设置有第一佩戴结构;所述第二固定带的一端固定于所述外壳的第二侧,所述第一侧与所述第二侧相对设置,所述第二固定带的另一端设置有与所述第一佩戴结构对应的第二佩戴结构,所述第一佩戴结构与所述第二佩戴结构配合以形成环形结构并佩戴于宠物身上。
5、优选的,所述放电组件包括pcb板以及蓄电池,所述pcb板与所述蓄电池电连接,所述上壳与所述下壳均与所述pcb板导通。
6、优选的,所述外壳包括中壳,所述上壳和所述下壳分别位于所述中壳的两侧,所述上壳和所述下壳分别与所述中壳连接以形成所述外壳。
7、优选的,所述下壳设置有至少一个第一定位柱,所述中壳的底面设置有与所述第一定位柱一一对应的第一定位孔,所述下壳与所述中壳扣合时所述第一定位柱与所述第一定位孔插接定位。
8、优选的,所述中壳的底端设置有第一卡接凹槽,所述下壳上设置有第一卡接凸起,所述第一卡接凸起伸进所述第一卡接凹槽内以将所述中壳与所述下壳卡接配合。
9、优选的,所述上壳设置有至少一个第二定位柱,所述中壳的顶端设置有与所述第二定位柱一一对应的并且开口向上的第二定位孔,所述上壳与所述中壳扣合时以使得所述第二定位柱与所述第二定位孔插接定位。
10、优选的,所述上壳的底面上设置有第二卡接凹槽,所述中壳的顶端设置于所述第二卡接凹槽对应的第二卡接凸起,所述第二卡接凸起伸进所述第二卡接凹槽内以将所述上壳与所述中壳卡接配合。
11、优选的,所述中壳的第一侧设置有第一缺口槽,所述中壳内设置有第一定位轴,所述第一固定带的一端设置有第一固定孔,所述第一固定带的一端通过所述第一缺口槽伸进所述中壳内以通过所述第一固定孔套设于所述第一定位轴;所述中壳的第二侧设置有第二缺口槽,所述中壳内设置有第二定位轴,所述第二固定带的一端设置有第二固定孔,所述第二固定带的一端通过所述第二缺口槽伸进所述中壳内以通过所述第二固定孔套设于所述第二定位轴。
12、优选的,所述第一定位轴上具有开口向上的第三定位孔,所述上壳设置有与所述第三定位孔对应的第三定位柱,所述第三定位柱伸进所述第三定位孔内以阻止所述第一固定孔脱离所述第一定位轴;所述第二定位轴上设置有第四定位孔,所述上壳设置有与所述第四定位孔对应的第四定位柱,所述第四定位柱伸进所述第四定位孔内以阻止所述第二固定孔脱离所述第二定位轴。
13、优选的,所述中壳的底端设置有底板,所述底板上设置有安装孔,所述蓄电池固定在所述安装孔内,所述pcb板固定在所述蓄电池的上方;
14、所述pcb板上设置有指示灯,所述上壳设置有导光件,所述导光件与所述指示灯位置相对应。
15、本实用新型公开的技术方案,与现有技术相比,有益效果是:
16、所述上壳和所述下壳是由导电材料制成的,所述下壳与宠物接触以释放宠物身上静电,所述上壳用于释放其他近距离接触时的静电,进而提升除静电效果。
技术特征:
1.一种智能宠物除静电项圈,其特征在于,包括外壳、放电组件、第一固定带和第二固定带,其中,
2.根据权利要求1所述的一种智能宠物除静电项圈,其特征在于,所述放电组件包括pcb板以及蓄电池,所述pcb板与所述蓄电池电连接,所述上壳与所述下壳均与所述pcb板导通。
3.根据权利要求2所述的一种智能宠物除静电项圈,其特征在于,所述外壳包括中壳,所述上壳和所述下壳分别位于所述中壳的两侧,所述上壳和所述下壳分别与所述中壳连接以形成所述外壳。
4.根据权利要求3所述的一种智能宠物除静电项圈,其特征在于,所述下壳设置有至少一个第一定位柱,所述中壳的底面设置有与所述第一定位柱一一对应的第一定位孔,所述下壳与所述中壳扣合时所述第一定位柱与所述第一定位孔插接定位。
5.根据权利要求4所述的一种智能宠物除静电项圈,其特征在于,所述中壳的底端设置有第一卡接凹槽,所述下壳上设置有第一卡接凸起,所述第一卡接凸起伸进所述第一卡接凹槽内以将所述中壳与所述下壳卡接配合。
6.根据权利要求5所述的一种智能宠物除静电项圈,其特征在于,所述上壳设置有至少一个第二定位柱,所述中壳的顶端设置有与所述第二定位柱一一对应的并且开口向上的第二定位孔,所述上壳与所述中壳扣合时以使得所述第二定位柱与所述第二定位孔插接定位。
7.根据权利要求6所述的一种智能宠物除静电项圈,其特征在于,所述上壳的底面上设置有第二卡接凹槽,所述中壳的顶端设置于所述第二卡接凹槽对应的第二卡接凸起,所述第二卡接凸起伸进所述第二卡接凹槽内以将所述上壳与所述中壳卡接配合。
8.根据权利要求7所述的一种智能宠物除静电项圈,其特征在于,所述中壳的第一侧设置有第一缺口槽,所述中壳内设置有第一定位轴,所述第一固定带的一端设置有第一固定孔,所述第一固定带的一端通过所述第一缺口槽伸进所述中壳内以通过所述第一固定孔套设于所述第一定位轴;所述中壳的第二侧设置有第二缺口槽,所述中壳内设置有第二定位轴,所述第二固定带的一端设置有第二固定孔,所述第二固定带的一端通过所述第二缺口槽伸进所述中壳内以通过所述第二固定孔套设于所述第二定位轴。
9.根据权利要求8所述的一种智能宠物除静电项圈,其特征在于,所述第一定位轴上具有开口向上的第三定位孔,所述上壳设置有与所述第三定位孔对应的第三定位柱,所述第三定位柱伸进所述第三定位孔内以阻止所述第一固定孔脱离所述第一定位轴;所述第二定位轴上设置有第四定位孔,所述上壳设置有与所述第四定位孔对应的第四定位柱,所述第四定位柱伸进所述第四定位孔内以阻止所述第二固定孔脱离所述第二定位轴。
10.根据权利要求3所述的一种智能宠物除静电项圈,其特征在于,所述中壳的底端设置有底板,所述底板上设置有安装孔,所述蓄电池固定在所述安装孔内,所述pcb板固定在所述蓄电池的上方;
技术总结
本技术公开了一种智能宠物除静电项圈,包括外壳、放电组件、第一固定带和第二固定带,所述放电组件固定于所述外壳内,所述外壳包括上壳和下壳,所述上壳与所述下壳均与所述放电组件电接触并分别位于所述放电组件的两侧,所述上壳和所述下壳是由导电材料制成的,所述第一固定带的一端固定于所述外壳的第一侧,所述第二固定带的一端固定于所述外壳的第二侧,所述第一固定带与所述第二固定带配合以佩戴于宠物身上,所述上壳和所述下壳是由导电材料制成的,所述下壳与宠物接触以释放宠物身上静电,所述上壳用于释放其他近距离接触时的静电,进而提升除静电效果。
技术研发人员:何忠辉
受保护的技术使用者:深圳市英卓时尚科技有限公司
技术研发日:20231211
技术公布日:2024/8/26
相关知识
智能宠物除静电项圈的制作方法
一种智能宠物项圈的制作方法
宠物携带智能项圈的制作方法
一种用于宠物定位用智能穿戴项圈的制作方法
一种蓝牙智能宠物项圈的制作方法
智能宠物挂件的制作方法
一种宠物电子安全项圈的制作方法
宠物项圈及其可穿戴智能装置的制作方法
宠物食具智能玩具球的制作方法
发光宠物项圈的制作方法
网址: 智能宠物除静电项圈的制作方法 https://m.mcbbbk.com/newsview371609.html
| 上一篇: 一种宠物用发光智能项圈 |
下一篇: 智能狗项圈Buddy即将上市 |