
本实用新型涉及一种烘干箱,具体的说是一种多功能宠物烘干箱。
背景技术:
现有宠物烘干箱的六个面一般都由硬板制成,整个宠物烘干箱为一整体,且烘干设备固定设置在烘干箱内,其烘干箱不能拆卸和折叠,以致携带不便,只能放置在固定空间仅仅给宠物洗澡后烘干使用;再有现有宠物烘干箱一般在箱体顶部或底部设置烘干装置,其不利于热风快速循环,以致烘干时间比较长;还有现有宠物烘干箱观察宠物的观察口少,只在箱体一侧或顶面设一观察口,不能详细观察宠物在烘干箱内的情
技术实现要素:
鉴于现有宠物烘干箱所存在的缺陷,本实用新型所要解决的技术问题是:提供一种便于携带的宠物烘干箱;同时该宠物烘干箱还需具备烘干迅速、便于观察箱内情况的宠物烘干箱。
为了实现上述目的,根据本实用新型的一个方面,本实用新型是通过如下技术措施实现的:一种多功能宠物烘干箱,包括:布套,所述布套设有观察口、风机口、出风口和框架安装口,所述框架安装口由拉链进行封闭;框架,所述框架由若干杆体和若干三接头固定而成,框架通过框架安装口放入布套内用于支撑布套。
本多功能宠物烘干箱通过活动插接的框架设计,需要使用的时候把框架安装好放入布套内形成烘干箱,不需要使用的时候,把框架拆除便于收纳和携带。
进一步地,所述框架安装口靠近布套底侧设置,且该框架安装口设在布套三个相连的竖直侧面上。上述设计结构合理,便于框架放入布套内。
进一步地,所述布套顶面和一竖直侧面上均设有一个风机口,所述风机口由布片进行活动封盖,所述出风口设在与风机口相对的布套竖直侧面上。上述设计通过两台吹风机同时吹风,使宠物的背部和肚皮下方都有热风快速通过,能快速烘干宠物全身的毛发。
进一步地,所述出风口通过网布封闭。上述设计起到一定隔尘作用。
进一步地,所述布片一侧与布套固定,与该侧相对的另一侧布片通过设在其上及布套上的魔术贴进行活动固定。上述设计不使用时可以对风机口进行隔尘。
进一步地,所述布套上设有两个观察口,其中一个观察口设在布套顶面,另一侧观察口设在布套其未设置出风口和风机口的竖直侧面上,同时观察口通过长方形透明塑料布封闭,且透明塑料布一侧边与布套缝合固定,其余三侧边通过拉链与布套连接。上述设计便于观察箱内情况。
进一步地,所述透明塑料布和所述布套上设有相互粘接的魔术贴。上述设计便于宠物从顶部或侧面抱出。
与现有技术相比,本实用新型的优点在于:宠物烘干箱收纳、携带方便,同时烘干箱对宠物毛发烘干速度快,毛发烘干时也便于观察箱内的情况。
附图说明
构成本实用新型一部分的附图用来提供对本实用新型的进一步理解,本实用新型的示意性实施例及其说明用于解释本实用新型,并不构成对本实用新型的不当限定。在附图中:
图1为本实用新型所述的多功能宠物烘干箱结构示意图。
图2为本实用新型所述的框架结构示意图。
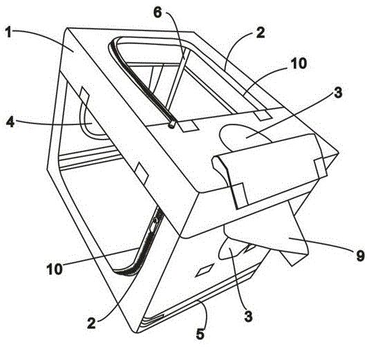
附图标记说明:1、布套;2、观察口;3、风机口;4、出风口;5、框架安装口;6、框架;7、杆体;8、三接头;9、布片;10、透明塑料布。
具体实施方式
下文中将参考附图并结合实施例来详细说明本实用新型。需要说明的是,在不冲突的情况下,
本技术:
中的实施例及实施例中的特征可以相互组合。
在本实用新型的描述中,需要理解的是,术语“中心”、“上”、“下”、“左”、“右”、“竖直”、“水平”、“内”、“外”、“底部”、“顶部”等指示的方位或位置关系为基于附图所示的方位或位置关系,仅是为了便于描述本实用新型和简化描述,而不是指示或暗示所指的装置或元件必须具有特定的方位、以特定的方位构造和操作,因此不能理解为对本实用新型的限制。
实施例1
请参照图1和图2,本实施例提供的多功能宠物烘干箱包括框架6和布套1,上述框架6由十二根圆形杆体7和八个直角三通头8插接构成的长方体框,上述布套1为一长方体布套,其顶面和前竖直侧面上分别开有一个观察口2,两个观察口2分别通过长方形透明塑料布10封闭,且透明塑料布10一侧边与布套1缝合固定,其余三侧边通过拉链与布套1连接,上述透明塑料布10上间隔设有两个魔术贴,布套1的顶面和前竖直侧面上也设有相对的魔术贴,这样透明塑料布10的拉链拉开后,透明塑料布10能够与布套1通过魔术贴进行固定,上述布套1顶部观察口2左侧的布套1上还开有一个风机口3,布套1左竖直侧面上也开有一个风机口3,布套1右竖直侧面上还开有一个出风口3,其中,风机口3通过布片9封盖,布片9一边与布套1缝合,其余三边与布套1分离,且布片9与布套1缝合相对的一边通过魔术贴与布套1粘合,上述出风口4则通过网布封闭,上述布套1的左、右、后三个侧面上在接近底部的位置开有贯穿三个侧面两端的开口,开口为安装框架6用的框架安装口5,且框架安装口5通过拉链连接闭合。
本实施例提供的多功能宠物烘干箱由布套和框架构成,安装时把布套其框架安装口的拉链拉开,使布套底面完全打开,然后把布套底部开口从框架上端往下套,再封闭布套底面和拉上拉链即可,而且由于框架的杆体和三接头可拆卸,其存储和携带宠物烘干箱都方便,既可当宠物烘干箱使用,带出户外后又可当宠物屋使用,同时在烘干箱一端的竖直侧面和顶部设风机口,另一端的竖直侧面设出风口,可通过两台吹风机同时吹风,使宠物的背部和肚皮下方都有热风快速通过,能快速烘干宠物全身的毛发,同时布套顶面和一竖直侧面都设有观察口,能更全面观察宠物在烘干箱内的情况,发现情况不对即可立刻停止吹风机吹风,通过打开观察口的拉链,也方便宠物从顶部或侧面抱出。
以上所述仅为本实用新型的优选实施例而已,并不用于限制本实用新型,对于本领域的技术人员来说,本发明可以有各种改变和变化。凡在本实用新型的精神和原则之内,所作的任何修改、等同替换、改进等,均应包含在本发明的保护范围之内。
技术特征:
1.一种多功能宠物烘干箱,其特征在于,包括:布套,所述布套设有观察口、风机口、出风口和框架安装口,所述框架安装口由拉链进行封闭;框架,所述框架由若干杆体和若干三接头固定而成,框架通过框架安装口放入布套内用于支撑布套。
2.根据权利要求1所述的多功能宠物烘干箱,其特征在于,所述框架安装口靠近布套底侧设置,且该框架安装口设在布套三个相连的竖直侧面上。
3.根据权利要求1所述的多功能宠物烘干箱,其特征在于,所述布套顶面和一竖直侧面上均设有一个风机口,所述风机口由布片进行活动封盖,所述出风口设在与风机口相对的布套竖直侧面上。
4.根据权利要求3所述的多功能宠物烘干箱,其特征在于,所述出风口通过网布封闭。
5.根据权利要求3所述的多功能宠物烘干箱,其特征在于,所述布片一侧与布套固定,与该侧相对的另一侧布片通过设在其上及布套上的魔术贴进行活动固定。
6.根据权利要求1-5任意一项所述的多功能宠物烘干箱,其特征在于,所述布套上设有两个观察口,其中一个观察口设在布套顶面,另一侧观察口设在布套其未设置出风口和风机口的竖直侧面上,同时观察口通过长方形透明塑料布封闭,且透明塑料布一侧边与布套缝合固定,其余三侧边通过拉链与布套连接。
7.根据权利要求6所述的多功能宠物烘干箱,其特征在于,所述透明塑料布和所述布套上设有相互粘接的魔术贴。
技术总结
本实用新型提供一种多功能宠物烘干箱。该多功能宠物烘干箱包括布套和框架,上述布套在其三个竖直侧面上开有连通的开口,该开口形成框架安装口供框架置入布套内来支撑布套,上述布套的顶面设有观察口和风机口,布套其中一个竖直侧面上也设有一个观察口,另两个相对的竖直侧面上设有出风口和另一个风机口,同时上述框架由若干杆体和若干三接头固定而成。通过插接式框架置入布套内的设计使多功能宠物烘干箱存储、携带都会非常的方便,同时通过两个风机口与出风口的配合也能使动物的毛发快速的烘干,而双观察口的设计便于观察箱体内的情况。
技术研发人员:杨渐
受保护的技术使用者:杨渐
技术研发日:2019.08.01
技术公布日:2020.05.01
相关知识
宠物毛发烘干箱的制作方法
多功能喂鸟箱的制作方法
宠物烘干箱多功能宠物烘干箱选光硕实体厂家
一种智能宠物烘干箱的制作方法
diy宠物烘干箱? 宠物烘干箱的做法?
PET MARVEL 鸟语花香 鳥語花香宠物烘干箱 64L烘干箱 象牙白 779元
宠物烘干箱哪个品牌质量好性价比高?宠物烘干箱品牌前5推荐
多功能宠物服的制作方法
宠物烘干箱别乱买,盘点2024好评榜前十名的宠物烘干箱
宠物烘干箱什么品牌口碑最好?宠物烘干箱品质优秀品牌推荐
网址: 多功能宠物烘干箱的制作方法 https://m.mcbbbk.com/newsview725385.html
| 上一篇: PetTime宠物时间全自动宠物 |
下一篇: 【讨论】有用过宠物烘干箱的吗? |