
本实用新型涉及宠物用品技术领域,具体涉及一种平轨移动式宠物冲便装置。
背景技术:
人们在家庭室内喂养宠物时会遇到宠物在室内排便的问题。宠物在室内随意排便会影响室内卫生,而让宠物在室外排便又会影响公共环境卫生,为了克服上述问题,人们开发了宠物自动冲便器。目前市场上的宠物自动冲便器在使用时,冲便箱体内虽然能够冲洗干净,但是宠物站立的网板上却无法冲洗,很容易留下粪便痕迹粘附在宠物脚上造成二次污染。在cn209105886u号专利申请中,提供了一种宠物自动冲便装置,该装置使用立式电动伸缩杆带动摆动冲洗装置移动,由于立式电动伸缩杆需要足够的高度空间才能安装,占用空间大且结构复杂,运行不平稳。宠物感应器位于箱体外,感应灵敏度低。因此,有必要提供一种新的平轨移动式宠物冲便装置来解决上述技术问题。
技术实现要素:
本实用新型所要解决的技术问题是提供一种平轨移动式宠物冲便装置,该装置采用皮带双轨道带动喷淋管移动,具有占用空间小、结构简单、喷淋管运行平稳、感应灵敏度高的优点。
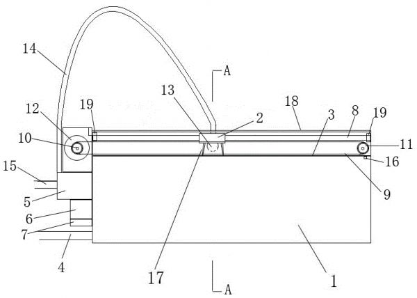
为解决上述技术问题,本实用新型采用如下技术方案:一种平轨移动式宠物冲便装置,包括冲便箱及位于冲便箱上方的冲洗架,冲便箱为上端面敞口、底部呈v形的凹槽,冲便箱凹槽的上端面设有宠物站立网盘,冲便箱的凹槽底部设有排水管路,冲便箱外侧面设有电磁喷水阀、单片机控制器、音乐播放器,其特征在于:所述冲便箱上部两侧分别设有滑轨,所述冲洗架两端安装在滑轨上可以左右滑动,滑轨下方设有环形的齿形传动带,滑轨两端底部设有支撑齿形传动带的转轴和齿轮组,其中一端的转轴利用驱动马达带动,冲洗架与齿形传动带通过卡扣连接,驱动马达带动转轴和齿轮组转动,进而带动齿形传动带转动,齿形传动带再带动冲洗架在滑轨上左右滑动;所述冲洗架底部设有喷淋管,电磁喷水阀与喷淋管之间利用喷水软管连通,电磁喷水阀与上水管路连通,排水管路与下水道连通;所述宠物站立网盘底部设有振动传感器,所述滑轨两端设有行程开关。
作为本技术方案的进一步改进,喷淋管邻近电磁喷水阀的一侧设有刮板,刮板上方安装在冲洗架上,刮板底部贴紧宠物站立网盘,所述刮板为软橡胶刮板。
作为本技术方案的进一步改进,所述滑轨及齿形传动带上方设有遮挡盖板。
本实用新型所述平轨移动式宠物冲便装置,采用皮带双轨道带动喷淋管移动,结构简单,占用空间小,运行平稳。本实用新型将振动传感器设置在宠物站立网盘底部,宠物上到宠物站立网盘上后才可进行感知,感应准确度高,减少了误冲情况的发生。
附图说明
图1为本实用新型所述平轨移动式宠物冲便装置的侧面结构示意图;
图2为图1的a-a截面图;
图3为本实用新型的电原理框图;
图中标号为:1冲便箱;2冲洗架;3宠物站立网盘;4排水管路;5电磁喷水阀;6单片机控制器;7音乐播放器;8滑轨;9齿形传动带;10转轴;11齿轮组;12驱动马达;13喷淋管;14喷水软管;15上水管路;16振动传感器;17刮板;18遮挡盖板;行程开关。
具体实施方式11
为了对本实用新型的技术特征、目的和效果有更加清楚的理解,以下结合附图及较佳实施例,对本实用新型的具体实施方式、结构、特征详细说明如后。
请参阅图1-图3所示,本实用新型提供了一种平轨移动式宠物冲便装置,包括冲便箱1及位于冲便箱1上方的冲洗架2,冲便箱为上端面敞口、底部呈v形的凹槽,冲便箱凹槽的上端面设有宠物站立网盘3,冲便箱的凹槽底部设有排水管路4,冲便箱外侧面设有电磁喷水阀5、单片机控制器6、音乐播放器7,所述冲便箱上部两侧分别设有滑轨8,所述冲洗架2两端安装在滑轨上可以左右滑动,滑轨下方设有环形的齿形传动带9,滑轨两端底部设有支撑齿形传动带的转轴10和齿轮组11,其中一端的转轴利用驱动马达12带动,冲洗架2与齿形传动带9通过卡扣连接,驱动马达12带动转轴10和齿轮组11转动,进而带动齿形传动带9转动,齿形传动带9再带动冲洗架2在滑轨上左右滑动;所述冲洗架底部设有喷淋管13,电磁喷水阀5与喷淋管13之间利用喷水软管14连通,电磁喷水阀5与上水管路15连通,排水管路4与下水道连通;所述宠物站立网盘底部设有振动传感器16,所述滑轨两端设有行程开关19。喷淋管13邻近电磁喷水阀5的一侧设有刮板17,刮板上方安装在冲洗架上,刮板底部贴紧宠物站立网盘,所述刮板为软橡胶刮板。所述滑轨8及齿形传动带9上方设有遮挡盖板18。
具体实施时,电磁喷水阀5、驱动马达12、单片机控制器6、振动传感器16、行程开关19和音乐播放器7通过电路连接并采用安全低压电路供电,保证上水管路有连续供水,保证排水管路及下水道畅通,并对单片机控制器6的控制程序进行设置。当宠物上到冲便箱上端面的宠物站立网盘3上方时,振动传感器16感应到振动并将信号传输给单片机控制器6,此时单片机控制器6单独启动音乐播放器7播放有利于宠物排便的音乐,如果宠物继续停留在宠物站立网盘2上方,就会有连续不断的振动信号传送至单片机控制器6,当宠物排便完成离开冲便箱,振动传感器16停止向单片机控制器6发送信号,单片机控制器6会在等待设定好的时间后启动电磁喷水阀和驱动马达12,驱动马达12带动转轴10和齿轮组11转动,进而带动齿形传动带9转动,齿形传动带9再带动冲洗架2在滑轨上左右滑动;冲洗架2带动喷淋管13移动,利用喷淋管13对冲便箱及宠物站立网盘进行同步清洗,利用刮板17辅助清除喷淋管清洗不掉的粪便。根据冲洗清洁需要可以对单片机控制器6的控制程序进行设置,可设置为单次冲洗、往返冲洗、或反复多次冲洗。
以上所述仅为本实用新型示意性的具体实施方式,并非用以限定本实用新型的范围。任何本领域的技术人员,在不脱离本实用新型的构思和原则的前提下所作的等同变化与修改,均应属于本实用新型保护的范围。
技术特征:
1.一种平轨移动式宠物冲便装置,包括冲便箱及位于冲便箱上方的冲洗架,冲便箱为上端面敞口、底部呈v形的凹槽,冲便箱凹槽的上端面设有宠物站立网盘,冲便箱的凹槽底部设有排水管路,冲便箱外侧面设有电磁喷水阀、单片机控制器、音乐播放器,其特征在于:所述冲便箱上部两侧分别设有滑轨,所述冲洗架两端安装在滑轨上可以左右滑动,滑轨下方设有环形的齿形传动带,滑轨两端底部设有支撑齿形传动带的转轴和齿轮组,其中一端的转轴利用驱动马达带动,冲洗架与齿形传动带通过卡扣连接,驱动马达带动转轴和齿轮组转动,进而带动齿形传动带转动,齿形传动带再带动冲洗架在滑轨上左右滑动;所述冲洗架底部设有喷淋管,电磁喷水阀与喷淋管之间利用喷水软管连通,电磁喷水阀与上水管路连通,排水管路与下水道连通;所述宠物站立网盘底部设有振动传感器,所述滑轨两端设有行程开关。
2.根据权利要求1所述的一种平轨移动式宠物冲便装置,其特征在于,喷淋管邻近电磁喷水阀的一侧设有刮板,刮板上方安装在冲洗架上,刮板底部贴紧宠物站立网盘,所述刮板为软橡胶刮板。
3.根据权利要求1所述的一种平轨移动式宠物冲便装置,其特征在于,所述滑轨及齿形传动带上方设有遮挡盖板。
技术总结
本实用新型提供了一种平轨移动式宠物冲便装置,包括冲便箱及位于冲便箱上方的冲洗架,冲便箱凹槽的上端面设有宠物站立网盘,冲便箱的凹槽底部设有排水管路,冲便箱外侧面设有电磁喷水阀、单片机控制器、音乐播放器,冲便箱上部设有滑轨,所述冲洗架两端安装在滑轨上,滑轨下方设有环形的齿形传动带,冲便箱两侧设有转轴、齿轮组、驱动马达,冲洗架与齿形传动带通过卡扣连接,所述冲洗架底部设有喷淋管,电磁喷水阀与喷淋管之间利用喷水软管连通,所述宠物站立网盘底部设有振动传感器。本实用新型具有占用空间小、结构简单、喷淋管运行平稳、感应灵敏度高的优点。
技术研发人员:冀振龙
受保护的技术使用者:冀振龙
技术研发日:2020.04.09
技术公布日:2020.11.17
相关知识
一种平轨移动式宠物冲便装置的制作方法
一种智能宠物防爆冲牵引装置的制作方法
一种宠物用牵引拾便一体装置的制作方法
一种狗便便垃圾收集装置的制作方法
一种宠物防爆冲牵引装置的制作方法
一种移动式宠物美容车的制作方法
一种智能宠物牵引装置的制作方法
一种宠物牵引器及牵引装置的制作方法
一种宠物饲料压缩成型装置的制作方法
一种宠物粪便收集装置的制作方法
原文链接: 一种平轨移动式宠物冲便装置的制作方法 https://m.mcbbbk.com/newsview1106974.html
| 上一篇: 飞狗发明防爆冲牵引绳 精准切入宠... | 下一篇: 铜陵梵野宠物服务有限公司 |