
1.本实用新型涉及喂药设备技术领域,具体涉及一种动物医学喂药器。
背景技术:
2.动物医学是以生物学为基础,研究动物疾病的发生发展规律,并在此基础上对疾病进行诊断和防治,从而可以保障动物健康。在动物医学操作中需要用到喂药器。
3.现有的喂药器在使用时不便于将动物的嘴撑开,并且会受到动物的挣扎,影响喂药工作的正常进行。
技术实现要素:
4.本实用新型针对上述问题,提供一种动物医学喂药器,解决目前的喂药器不便于撑开动物的嘴,影响喂药工作进行的问题。
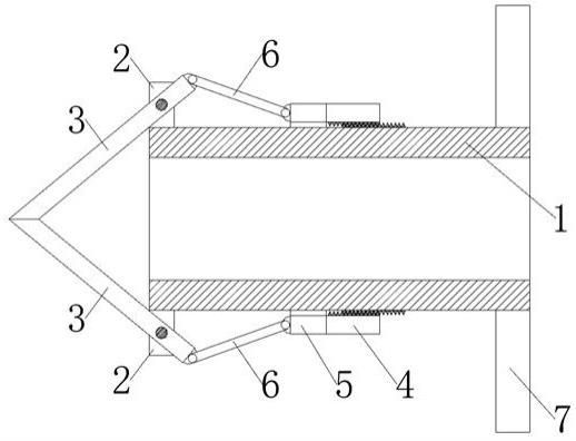
5.本实用新型的技术方案为:一种动物医学喂药器,包括导管、撑口板、第一套筒、第二套筒、连杆、握把、注射器和限位装置;所述导管一端两侧均设有固定块,两个所述固定块上均转动连接有撑口板,两个所述撑口板第一端可拆卸连接,所述导管上螺接的套设有第一套筒,所述第一套筒一侧转动连接有第二套筒,所述第二套筒滑动连接的套设在导管上,所述第二套筒与两个撑口板第二端之间均通过连杆铰接;所述导管另一端两侧均设有握把,所述导管内滑动且可拆卸连接有注射器,所述注射器与其中一个握把之间通过限位装置可拆卸连接。
6.进一步地,所述撑口板外壁上均设有软质材料层。
7.进一步地,所述第一套筒一侧设有环形t型槽,所述第二套筒上设有相配合的第一凸起,所述第一凸起滑动连接的设置在环形t型槽内。
8.进一步地,所述限位装置包括第二凸起、l型板、弹簧和拉环,其中一个所述握把上设有直型t型槽,所述直型t型槽内滑动连接有第二凸起,所述第二凸起一侧设有l型板,所述注射器上设有与l型板相配合的卡槽,所述l型板滑动且可拆卸连接的设置在卡槽内,所述第二凸起与直型t型槽侧壁之间连接有弹簧,所述l型板外侧连接有拉环。
9.进一步地,所述注射器前端可拆卸连接有延长管。
10.本实用新型的优点:本实用新型的两个撑口板同时转动时可将动物的嘴分开,便于后续喂药工作的进行;撑口板外壁上的软质材料层可在撑开动物的嘴时对动物起到保护作用;第一套筒、第二套筒和连杆配合可保证两个撑口板同时以相反方向转动;第一凸起和环形t型槽配合可避免第一套筒转动时与第二套筒脱离;握把方便工作人员手握住导管进行喂药工作;延长管可伸入到动物的喉咙处,避免在注射药物时部分药物从嘴里面流出造成浪费;限位装置可将注射器与握把连接在一起,避免在注射时注射器乱动,影响喂药工作的进行;拉环便于手动将l型板与卡槽内分开。本实用新型结构简单可靠,可将动物的嘴分开,保证喂药工作的正常进行,操作方便,实用性强,适于推广。
11.除了上面所描述的目的、特征和优点之外,本实用新型还有其它的目的、特征和优
点。下面将参照图,对本实用新型作进一步详细的说明。
附图说明
12.构成本技术的一部分的附图用来提供对本实用新型的进一步理解,本实用新型的示意性实施例及其说明用于解释本实用新型,并不构成对本实用新型的不当限定。
13.图1是本实用新型的整体状态一结构示意图;
14.图2是本实用新型的整体状态二结构示意图;
15.图3是本实用新型的第一凸起安装示意图;
16.图4是本实用新型的限位装置结构示意图;
17.图5是本实用新型的第二凸起安装示意图。
18.附图标记:1为导管、2为固定块、3为撑口板、4为第一套筒、5为第二套筒、501为第一凸起、6为连杆、7为握把、701为直型t型槽、8为注射器、801为延长管、9为限位装置、901为第二凸起、902为l型板、903为弹簧、904为拉环、905为卡槽。
具体实施方式
19.为了使本实用新型的目的、技术方案及优点更加清楚明白,以下结合附图及实施例,对本实用新型进行进一步详细说明。应当理解,此处所描述的具体实施例仅用以解释本实用新型,并不用于限定本实用新型。
20.在本实用新型的描述中,需要理解的是,术语“上”、“下”、“前”、“后”、“左”、“右”、“顶”、“底”、“内”、“外”等指示的方位或位置关系为基于附图所示的方位或位置关系,仅是为了便于描述本实用新型和简化描述,而不是指示或暗示所指的装置或元件必须具有特定的方位、以特定的方位构造和操作,因此不能理解为对本实用新型的限制。
21.参考图1至图5,一种动物医学喂药器,包括导管1、撑口板3、第一套筒4、第二套筒5、连杆6、握把7、注射器8和限位装置9;导管1一端两侧均设有固定块2,两个固定块2上均转动连接有撑口板3,两个撑口板3第一端可拆卸连接,在喂药时撑口板3第一端插入动物嘴里,两个撑口板3同时转动时可将动物的嘴分开,便于后续喂药工作的进行,撑口板3外壁上均设有软质材料层,软质材料层可在撑开动物的嘴时对动物起到保护作用;导管1上螺接的套设有第一套筒4,第一套筒4一侧转动连接有第二套筒5,第二套筒5滑动连接的套设在导管1上,转动第一套筒4可带动第二套筒5在导管1上移动,且第二套筒5自身不转动,第二套筒5与两个撑口板3第二端之间均通过连杆6铰接,在两个连杆6的带动下,第二套筒5移动时可带动两个撑口板3同时以相反方向转动,第一套筒4一侧设有环形t型槽,第二套筒5上设有相配合的第一凸起501,第一凸起501滑动连接的设置在环形t型槽内,第一凸起501和环形t型槽配合可避免第一套筒4转动时与第二套筒5脱离;导管1另一端两侧均设有握把7,握把7方便工作人员手握住导管1进行喂药工作,导管1内滑动且可拆卸连接有注射器8,注射器8为市售的,注射器8内装有喂药的药品,当撑口板3将动物的嘴撑开后,可将注射器8插入到导管1内,进而将药物注射到动物的嘴里面,注射器8前端可拆卸连接有延长管801,延长管801可伸入到动物的喉咙处,避免在注射药物时部分药物从嘴里面流出造成浪费;注射器8与其中一个握把7之间通过限位装置9可拆卸连接,限位装置9可将注射器8与握把7连接在一起,避免在注射时注射器8乱动,影响喂药工作的进行,限位装置9包括第二凸起901、l型
板902、弹簧903和拉环904,其中一个握把7上设有直型t型槽701,直型t型槽701内滑动连接有第二凸起901,第二凸起901可沿着直型t型槽701上下移动,直型t型槽701可避免第二凸起901从握把7上脱离,第二凸起901一侧设有l型板902,注射器8上设有与l型板902相配合的卡槽905,l型板902滑动且可拆卸连接的设置在卡槽905内,当第二凸起901带动l型板902移动至卡入到卡槽905内,注射器8被限位不再移动,此时可进行喂药工作,第二凸起901与直型t型槽701侧壁之间连接有弹簧903,弹簧903用于给第二凸起901施加推力,l型板902外侧连接有拉环904,拉环904便于手动将l型板902与卡槽905内分开。
22.本实用新型的使用方法:当需要给动物喂药时,首先限制动物的头部无法移动,然后将撑口板3第一端插入到动物嘴里,接着转动第一套筒4,第一套筒4带动第二套筒5在导管1上移动,在两个连杆6的带动下,两个撑口板3同时转动,将动物的嘴分开,然后将装有药物的注射器8放入到导管1内,然后向上拉动拉环904,拉环904带动l型板902向上移动,然后推动注射器8与握把7接触,此时l型板902与卡槽905对齐,松开拉环904,弹簧903复位推动l型板902向下移动,l型板902卡入到卡槽905内,此时注射器8被限位不再移动,并且延长管801伸入到动物的喉咙处,最后将注射器8内的药物注射到动物嘴内,药物注射完毕后,将导管1从动物嘴内取出,完成对动物的喂药工作。
23.本实用新型的两个撑口板同时转动时可将动物的嘴分开,便于后续喂药工作的进行;撑口板外壁上的软质材料层可在撑开动物的嘴时对动物起到保护作用;第一套筒、第二套筒和连杆配合可保证两个撑口板同时以相反方向转动;第一凸起和环形t型槽配合可避免第一套筒转动时与第二套筒脱离;握把方便工作人员手握住导管进行喂药工作;延长管可伸入到动物的喉咙处,避免在注射药物时部分药物从嘴里面流出造成浪费;限位装置可将注射器与握把连接在一起,避免在注射时注射器乱动,影响喂药工作的进行;拉环便于手动将l型板与卡槽内分开。本实用新型结构简单可靠,可将动物的嘴分开,保证喂药工作的正常进行,操作方便,实用性强,适于推广。
24.以上所述仅为本实用新型的较佳实施例,并不用以限制本实用新型,凡在本实用新型的精神和原则之内,所作的任何修改、等同替换、改进等,均应包含在本实用新型的保护范围之内。
相关知识
一种动物医学喂药器
动物喂药器.pdf
一种宠物喂药器制造技术
【喂药器】喂药器好用吗
一种宠物用简便喂药器装置的制作方法
喂药器
宠物喂药器:让喂药变得更简单?如何选择适合宠物的喂药器
宠物喂药器
喂药器是什么东西 该如何选择喂药器好
哪种喂药器实用?常见的喂药器有哪些?
网址: 一种动物医学喂药器 https://m.mcbbbk.com/newsview1146770.html
| 上一篇: 宠物可以火化吗 |
下一篇: 一种宠物用简便喂药器装置的制作方 |