
本发明涉及动物医疗设备领域,特别涉及一种多功能动物护理病房系统。
背景技术:
随着生活水平的提高,宠物逐渐成为人们现代生活不可或缺的一部分,与此同时,动物医疗逐步形成了一个新的产业。宠物医疗发展迅速,在治疗宠物的基础上,规范化和人性化越来越受到重视。
传统的动物住院笼是由多个隔间组成,每个隔间的结构为:五面封闭,一面设置可开合的格栅笼门,隔间底部设置承粪板,动物的粪便、体液、血液和呕吐物等落入承粪板中收集。传统的住院笼只是单纯的将动物关在笼子中,没有通风、照明、空调、排污、治疗功能和医疗护理配套设施,并不具备医疗护理和辅助修养康复的功能。
生病的动物一般需要在隔间中住院观察2~4周,这种住院笼空间狭小、密闭,空气不流通,笼内会堆积动物的粪便、体液、血液和呕吐物等,没法及时清理时,长时间空气不流通会造成笼内臭气熏天,严重影响动物治疗;另外,病原体在空气中存留,很容易造成动物之间传染病的交叉感染,也增加了手术后感染的风险。
在医院建设的环境评价报告中,把动物粪便列为医疗废物,粪便属于固体,无法进入污水处理器分解,需由动物医生手工捡拾,再集中处理。而传统动物笼的盛粪板中粪便/尿液/呕吐物混合存放,极难清理。对长期工作的动物医生,也是长期职业危害,各种病原体会在医生打扫动物粪尿时,传染给医生。住院笼的恶臭,会慢慢伤害嗅觉,长期工作会让动物医生失去嗅觉。动物医院的臭味会扩散到周边环境,会引来周边居民与商铺的投诉,同时会影响来店消费的动物主人,对医院产生对医疗服务的不信任。
动物住院笼大都为不锈钢板拼接而成,在寒冷的冻天,钢制笼璧非常冰冷,现有取暖方式只是在底部不锈钢上加电热毯,动物在狭小的笼内,只能在电热毯上取暖,时间一长,电热毯上自然满是粪便,尿液,电热毯散热加重了臭味,尿液浸湿的电热毯还有漏电的风险,盛放粪便、尿液与呕吐物的不锈钢托盘中尿液直接暴露在笼内,在气温较高的季节,水气蒸发,使得笼内空气潮湿,也加重了动物的并发症。
另外,动物住院笼,没有任何治疗功能、医疗气源接口、护理配套设施。动物在接受氧气吸入、负压引流、创面治疗、皮肤护理、关节再造等等,都需要把动物从动物住院笼,移动到其他设备上进行治疗,再送回动物住院笼内。这样不仅大大增加医生的工作量,更加大动物在移动过程中的医疗风险,病情严重的动物更无法安全移动。
技术实现要素:
基于上述理由,本发明的目的在于:针对上述不足,提供一种多功能动物护理病房系统,具有排污、杀菌、通风等配套设备,可远程控制、远程看诊,能够改善动物住院环境。
为实现上述目的,本发明的技术方案为:
一种多功能动物护理病房系统,包括框架,框架竖直方向和水平方向设有搁板,搁板将框架隔成若干隔间,每个隔间的开口端均通过铰链连接有可开合的房门,其还配设排污杀菌系统、新风系统和控制系统。
所述排污杀菌系统包括排污组件和清洁组件,所述排污组件包括导流板、筛网、排污管路和集污池,排污管路设置在框架内,每个隔间的底部均安装有筛网,每层隔间的筛网下侧安装有至少一片导流板,所述导流板倾斜设置,导流板的下端设有集污池,集污池与排污管路连通,所述清洁组件包括供水装置,供水装置上连接有冲洗喷头和冲洗水枪,所述高压冲洗喷头设置在导流板上端。
所述新风系统包括风淋组件和排风组件,所述风淋组件包括新风机组和新风风道,新风风道设置在框架内,新风风道的进风口与新风机组的送风管连通,新风机组内设有风机、加热装置和除湿装置,每间隔间内均设有至少一个淋风口,新风风道与淋风口连通,排风组件包括排风机和排风管,排风机与排风管连接,每间隔间内均设有至少一个出风口,出风口均与排风管连通。
所述控制系统包括监控装置、变光加温灯、主控模块、近程终端和远程终端,监控装置安装在排污杀菌系统或新风系统中,变光加温灯安装在隔间内,主控模块的第一通信端和远程终端分别通过路由器接入互联网的云端服务器,主控模块的第二通信端与近程终端连接,主控模块的信号端分别与监控装置、变光加温灯信号连接。
进一步地,所述供水装置上设有进水支路,进水支路的端部安装有储液箱,储液箱中储存消毒剂。
进一步地,所述冲洗喷头处安装有消毒盒,消毒盒内设有缓释消毒剂,在冲洗污染物的同时对导流板和集污池进行消毒处理,避免病菌滋生。
进一步地,所述集污池内安装有消毒灯。
进一步地,所述进风口上安装有空气过滤器。
进一步地,所述进程终端设有状态显示屏和新风调节开关。
进一步地,所述远程终端至少为智能手机、智能平板或电脑。
进一步地,所述监控装置包括摄像头、烟雾传感器、温度传感器、湿度传感器,所述摄像头安装在隔间内,烟雾传感器安装在框架上,温度传感器和湿度传感器安装在排风管内。
进一步地,所述隔间内安装有辐射板。
进一步地,框架上还设有供配面板,所述供配面板上设有电插孔、氧气接头、负压接头和水枪接头。
由于采用了上述方案,本发明的有益效果在于:
1.本发明能够为住院动物提供更良好的住院环境、更完善的配套设施,有利于动物治疗和康复。
2.设置风淋系统和排风系统,将洁净新风引入动物病房内,将臭气排走,实现动物病房的空气流通,洁净空气,解决动物医院臭味问题,提高动物病房卫生安全性,防止病菌在空气不流通的空间内滋生,防止动物之间交叉传染,避免动物术后感染,增加康复速度。
3.设有控制系统,能够自动控制、调节新风系统工作,根据温度传感器和湿度传感器反馈信息调整新风的温度和湿度。
4.设置控制系统,实现自动化控制,可远程监控、预警和控制,能及时发现问题,既时处理,降低医疗风险,避免医疗事故的发生。
5.设有加热装置,在寒冷天气对空气加温,提高风淋系统引入新风的温度,是动物病房温暖舒适,辅助动物康复。
6.设置干燥装置,对空气进行干燥处理,尤其当季节性适度大时,将干燥新风引入动物病房,防止病菌滋生,排风系统在排风时,也可排除部分承粪板内湿气。
7.能够自动收集和处理动物的排泄物和污染物,能够及时清理排泄物和污染物,从源头防止臭气扩散,杜绝病原体的滋生,防止交叉感染,从而防疫。
8.采用自动排污、清洁系统,利用冲洗喷头和冲洗水枪冲洗可能沾有污染物的导流板和集污池,避免医生手动分拣、清理粪便,防止病原体传染医生,避免职业危害,提高工作效率。
9.控制系统内设有变光加温灯,能够仿日照。对于爬行类动物,其受光阳影响很大,在病房内过热过冷、过暗过亮都会影响其生理结构,为营造其生活习性,模拟阳光的时时变化照度与温度,帮助爬行动物催情、产卵、孵化、育儿;对于哺乳类动物,其常期被关在笼内,会损害其心理健康,采用合适的色温、人为延长日照时间,可有效改善哺乳动物心情,有益术后康复。
10.设有辐射板装置:其发设的红外线,可实现对动物的治疗作用,增强动物血液循环,促进新陈代谢,术后伤口愈合,还能对皮肤病变部位进行修复,并提高自身的免疫能力。
11.设有氧气接头,使用时盖住集粪池,把氧气管接入病房,可实现微压氧舱功能,提动物升血氧含量,恢复细胞活力,调节代谢功能,使各体内项机能逐步趋于平衡,并提升溶解氧在器官内的存储。
12.设有负压接头,可引流动物体内体液,减少腹水,皮肤烧伤感染的处理;可自动清除呕吐物、肺内积痰等。
13.为治病的动物提供舒适的环境,使动物医疗更加规范化和人性化,提升动物医院形象。
附图说明
图1是本发明实施例1中排污杀菌系统的一种实施方式的主视结构示意图。
图2是本发明实施例1中排污杀菌系统的一种实施方式的左视结构示意图。
图3是本发明实施例1中新风系统中风淋组件的一种实施方式主视结构示意图。
图4是本发明实施例1中新风系统中排风组件的一种实施方式主视结构示意图。
图5是本发明实施例2中排污杀菌系统的一种实施方式的主视结构示意图。
图6是本发明实施例2中新风系统中风淋组件的一种实施方式主视结构示意图。
图7是本发明实施例2中控制系统的原理框图。
图8是本发明实施例2中控制系统的监控装置的一种实施方式主视结构示意图。
图9是本发明实施例2中配置面板的一种实施方式主视结构示意图。
附图标记:1-框架,2-搁板,3-隔间,4-房门,5-万向轮,51-筛网,52-导流板,53-排污管路,54-集污池,61-供水装置,62-冲洗喷头,63-冲洗水枪,64-增压泵,65-进水支路,66-储液箱,67-消毒盒,68-消毒灯,71-新风机组,711-风机,712-加热装置,713-除湿装置,72-新风风道,73-进风口,74-送风管,75-淋风口,76-排风机,77-排风管,78-出风口,79-空气过滤器,81-摄像头,82-烟雾传感器,83-温度传感器,84-湿度传感器,91-状态显示屏,92-新风调节开关,93-电插孔,94-氧气接头,95-负压接头,96-水枪接头。
具体实施方式
以下结合附图及附图标记对本发明的实施方式做更详细的说明,使熟悉本领域的技术人在研读本说明书后能据以实施。
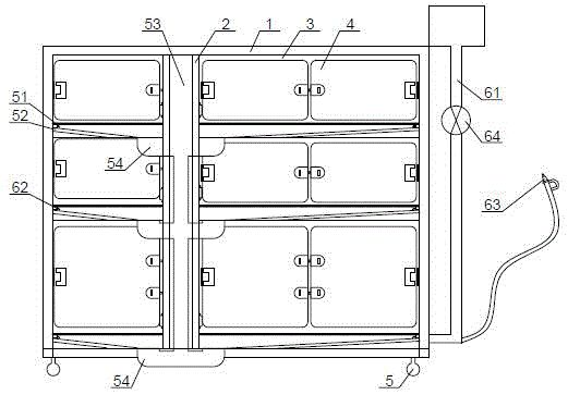
实施例1:一种多功能动物护理病房系统,包括框架1,框架1竖直方向和水平方向设有搁板2,搁板2将框架1隔成若干隔间3,每个隔间3的开口端均通过铰链连接有可开合的房门4,还配设排污杀菌系统、新风系统和控制系统,本实施例中所述框架1底部安装有万向轮7,万向轮7上安装有固定装置,方便移动和固定动物病房。
具体的,参见附图1、附图2,所述排污杀菌系统包括排污组件和清洁组件,排污组件用于收集、汇总污染物,清洁组件用于辅助排污组件清理污染物,还用于对排污组件进行清理。其中,排污组件包括筛网51、导流板52、排污管路53和集污池54,排污管路53设置在框架1内,每个隔间3的底部均安装有筛网51,每层隔间3的筛网51下侧安装有至少一片导流板52,所述导流板52倾斜设置,导流板52的下端设有集污池54,集污池54与排污管路53连通;所述清洁组件包括供水装置61,供水装置61上连接有冲洗喷头62和冲洗水枪63,所述高压冲洗喷头62设置在导流板52上端。
为了增加高压冲洗喷头62的压力,供水装置61上安装有增压泵64。
动物粪便、尿液、呕吐物等经筛网51掉落到导流板52上,大块粪便在导流板52上脱水干燥后,容易清理,小块粪便随尿液、呕吐物从导流板52下滑到集污池54中。冲洗喷头62对导流板52和集污池54进行冲洗,小块粪便随尿液、呕吐物进入排污管路53由管路中,由排污管路53进入市政下水管网排出。
参见附图3、附图4,所述新风系统包括风淋组件和排风组件,所述风淋组件包括新风机组71和新风风道72,新风风道72设置在框架1内。新风风道72的进风口73与新风机组71的送风管74连通,新风机组71内设有风机711、加热装置712和除湿装置713,每间隔间3内均设有至少一个淋风口75,新风风道72与淋风口75连通,排风组件包括排风机76和排风管77,排风机76与排风管77连接,每间隔间3内均设有至少一个出风口78,出风口78均与排风管77连通。
工作时,启动新风机组71,风机711开始工作,新风进入新风风道72后从淋风口75进入每个隔间3内。如需要提供热空气或干燥空气时可选择性开启新风机组71内的加热装置712或干燥装置713,启动排风机76,排风机76抽风将隔间3内的空气排出,带走隔间3内的臭气和湿气。
风淋组件和排风组件共同作用,将洁净的新风引入隔间3内,将含有湿气、臭气、病原体的空气排出,保证动物病房内空气流通,解决动物医院臭味问题,提高动物病房卫生安全性,防止病菌在空气不流通的空间内滋生,防止动物之间交叉传染,避免动物术后感染,增加康复速度。按照动物入住率和空气质量调整风淋组件和排风组件的开启频率,可间隙式工作。
所述控制系统包括监控装置、变光加温灯、主控模块、近程终端和远程终端,监控装置安装在排污杀菌系统或新风系统中,变光加温灯安装在隔间3内,主控模块的第一通信端和远程终端分别通过路由器接入互联网的云端服务器,主控模块的第二通信端与近程终端连接,主控模块的信号端分别与监控装置、变光加温灯信号连接。
实施例2:本实施例是在实施例1的基础上做出的进一步改进和优化。
一种多功能动物护理病房系统,包括框架1,框架1竖直方向和水平方向设有搁板2,搁板2将框架1隔成若干隔间3,每个隔间3的开口端均通过铰链连接有可开合的房门4,还配设排污杀菌系统、新风系统和控制系统。
所述排污杀菌系统包括排污组件和清洁组件,排污组件用于收集、汇总污染物,清洁组件用于辅助排污组件清理污染物,还用于对排污组件进行清理。其中,排污组件包括筛网51、导流板52、排污管路53和集污池54,排污管路53设置在框架1内,每个隔间3的底部均安装有筛网51,每层隔间3的筛网51下侧安装有至少一片导流板52,所述导流板52倾斜设置,导流板52的下端设有集污池54,集污池54与排污管路53连通;所述清洁组件包括供水装置61,供水装置61上连接有冲洗喷头62和冲洗水枪63,所述高压冲洗喷头62设置在导流板52上端。
本实施例中所述导流板52的倾斜角度为15°。
优选地,排污管路53设置在竖直方向相邻的两列隔间3之间,集污池54设置在排污管路53上,导流板52向内、向下倾斜与中部的集污池54连通。
参见附图5,所述供水装置61上设有进水支路65,进水支路65的端部安装有储液箱66,储液箱66中储存消毒剂。储液箱66中的消毒剂能够与进水支路65中的水混合后经冲洗喷头62和冲洗水枪63喷出,对导流板52和集污池54消毒。
更进一步的,所述冲洗喷头62处安装有消毒盒67,消毒盒67内设有缓释消毒剂,随着冲洗喷头62喷水,消毒盒67中的缓释消毒剂溶解释放,对导流板52和集污池54消毒。
更优选地,所述集污池54内安装有消毒灯68。本实施例中所述消毒灯68为紫外线消毒灯,紫外线消毒灯利用适当波长的紫外线能够破坏微生物机体细胞中的dna(脱氧核糖核酸)或rna(核糖核酸)的分子结构,造成生长性细胞死亡和(或)再生性细胞死亡,达到杀菌消毒的效果,能够杀死污染物中的的病原体。消毒灯68还可选用臭氧灭菌灯,臭氧灭菌灯以氧原子的氧化作用破坏微生物膜的结构,以实现杀菌作用。
参见附图6,所述新风系统包括风淋组件和排风组件,所述风淋组件包括新风机组71和新风风道72,新风风道72设置在框架1内,优选地,新风风道72设置在竖直方向相邻的两列隔间3之间靠近排污管路53处,新风风道72的进风口73与新风机组71的送风管74连通,新风机组71内设有风机711、加热装置712和除湿装置713,每间隔间3内均设有至少一个淋风口75,新风风道72与淋风口75连通,排风组件包括排风机76和排风管77,排风机76与排风管77连接,每间隔间3内均设有至少一个出风口78,出风口78均与排风管77连通。
一个优选地实施方式为:出风口78与隔间3下方的导流板52、集污池54连通,用于排出导流板52上的部分湿气和臭气。
本实施例中所述新风风道72的进风口73安装有空气过滤器79,过滤空气中的粉尘和颗粒物,优化新风质量,优选采用中效过滤器。
所述新风机组71的送风管74上安装有风量调节阀,可通过动物入住率和新风需求情况调整风量。
优选地,部分隔间3内安装有加湿器。一些昆虫、爬行类动物需要空气湿度大的环境,加湿器能够为这些动物提供更适合的仿生环境。
参见附图7,所述控制系统包括监控装置、变光加温灯、主控模块、近程终端和远程终端,监控装置安装在排污杀菌系统或新风系统中,变光加温灯安装在隔间3内,主控模块的第一通信端和远程终端分别通过路由器接入互联网的云端服务器,主控模块的第二通信端与近程终端连接,主控模块的信号端分别与监控装置、变光加温灯信号连接。
所述进程终端设有状态显示屏91和新风调节开关92。
其中,变光加温灯能够仿日照进行灯光明暗、颜色和温度变化。对于爬行类动物,其受光阳影响很大,在病房内过热过冷、过暗过亮都会影响其生理结构,为营造其生活习性,模拟阳光的时时变化照度与温度,帮助爬行动物催情、产卵、孵化、育儿;对于哺乳类动物,其常期被关在笼内,会损害其心理健康,采用合适的色温、人为延长日照时间,可有效改善哺乳动物心情,有益术后康复。
所述远程终端至少为智能手机、智能平板或电脑,实际运用时,医生、动物饲养者将相关的软件安装在智能手机、智能平板或电脑上。
参见附图8,所述监控装置包括摄像头81、烟雾传感器82、温度传感器83、湿度传感器84,所述摄像头81安装在隔间3内,烟雾传感器82安装在框架1上,温度传感器83和湿度传感器84安装在排风管77内。
参见附图9,框架1上还设有配置面板,所述配置面板上设有电插孔93、氧气接头94、负压接头95和水枪接头96,电插孔93用于连接需要供电的配套设施,电插孔93的接线端连接室内电源;氧气接头94用于连接供氧设备,为需要特殊供氧的动物提供氧气,氧气接头94与病房内的供氧源连接。
实施例3:本实施例是在实施例1的基础上做出的进一步改进和优化。
隔间3内还安装有辐射板,优选选用tdp辐射板,所述辐射板发设的红外线,可实现对动物的治疗作用,增强动物血液循环,促进新陈代谢,术后伤口愈合,还能对皮肤病变部位进行修复,并提高自身的免疫能力。
为了更方便清洁导流板52,本实施例中所述导流板52上涂有一层易洁涂层,易洁涂层选用特氟龙材料或陶瓷材料。
为了减轻新风机组71工作时的噪音,为动物提供良好的环境,所述新风机组5外壁包有一层减震层。
病房四壁后面,贴有隔音板。并降低动物尾巴敲击墙面而产生的噪音。
隔间3四壁贴有防粘涂层,材料优选特氟龙。动物的呕吐物如喷溅到带有特氟龙材料的涂层,可轻松滑落到导流板,防止四壁粘附的呕吐物,被动物粘附在身上。
采用格栅式笼门易加剧动物畏惧心理,没有安全感,为了减轻动物的畏惧心理,本实施例中所述房门4的材质为聚丙烯酸类树脂,为透明材质,硬度较好,具有良好的透光性,易加工成型,且方便清洁消毒,防止细菌滋生。还可在房门4上安装遮挡装置,为动物提供更隐蔽的空间,辅助动物尽快康复。
上面结合附图对本实施例进行了示例性描述,本发明具体实现并不受上述方式的限制,只要采用了本发明的方法构思和技术方案进行的各种非实质性的改进,或未经改进将本发明的构思和技术方案直接应用于其他场合的,均在本发明的保护范围之内。
技术特征:
1.一种多功能动物护理病房系统,包括框架(1),框架(1)竖直方向和水平方向设有搁板(2),搁板(2)将框架(1)隔成若干隔间(3),每个隔间(3)的开口端均通过铰链连接有可开合的房门(4),其特征在于:还配设排污杀菌系统、新风系统和控制系统;
所述排污杀菌系统包括排污组件和清洁组件,所述排污组件包括筛网(51)、导流板(52)、排污管路(53)和集污池(54),排污管路(53)设置在框架(1)内,每个隔间(3)的底部均安装有筛网(51),每层隔间(3)的筛网(51)下侧安装有至少一片导流板(52),所述导流板(52)倾斜设置,导流板(52)的下端设有集污池(54),集污池(54)与排污管路(53)连通,所述清洁组件包括供水装置(61),供水装置(61)上连接有冲洗喷头(62)和冲洗水枪(63),所述高压冲洗喷头(62)设置在导流板(52)上端;
所述新风系统包括风淋组件和排风组件,所述风淋组件包括新风机组(71)和新风风道(72),新风风道(72)设置在框架(1)内,新风风道(72)的进风口(73)与新风机组(71)的送风管(74)连通,新风机组(71)内设有风机(711)、加热装置(712)和除湿装置(713),每间隔间(3)内均设有至少一个淋风口(75),新风风道(72)与淋风口(75)连通,排风组件包括排风机(76)和排风管(77),排风机(76)与排风管(77)连接,每间隔间(3)内均设有至少一个出风口(78),出风口(78)均与排风管(77)连通;
所述控制系统包括监控装置、变光加温灯、主控模块、近程终端和远程终端,监控装置安装在排污杀菌系统或新风系统中,变光加温灯安装在隔间(3)内,主控模块的第一通信端和远程终端分别通过路由器接入互联网的云端服务器,主控模块的第二通信端与近程终端连接,主控模块的信号端分别与监控装置、变光加温灯信号连接。
2.根据权利要求1所述的一种多功能动物护理病房系统,其特征在于:所述供水装置(61)上设有进水支路(65),进水支路(65)的端部安装有储液箱(66),储液箱(66)中储存消毒剂。
3.根据权利要求1所述的一种多功能动物护理病房系统,其特征在于:所述冲洗喷头(62)处安装有消毒盒(67),消毒盒(67)内设有缓释消毒剂。
4.根据权利要求1所述的一种多功能动物护理病房系统,其特征在于:所述集污池(54)内安装有消毒灯(68)。
5.根据权利要求1所述的一种多功能动物护理病房系统,其特征在于:所述进风口(73)上安装有空气过滤器(79)。
6.根据权利要求1所述的一种多功能动物护理病房系统,其特征在于:所述进程终端设有状态显示屏(91)和新风调节开关(92)。
7.根据权利要求1所述的一种多功能动物护理病房系统,其特征在于:所述远程终端至少为智能手机、智能平板或电脑。
8.根据权利要求1所述的一种多功能动物护理病房系统,其特征在于:所述监控装置包括摄像头(81)、烟雾传感器(82)、温度传感器(83)、湿度传感器(84),所述摄像头(81)安装在隔间(3)内,烟雾传感器(82)安装在框架(1)上,温度传感器(83)和湿度传感器(84)安装在排风管(77)内。
9.根据权利要求1所述的一种多功能动物护理病房系统,其特征在于:所述隔间(3)内安装有辐射板。
10.根据权利要求1所述的一种多功能动物护理病房系统,其特征在于:框架(1)上还设有配置面板,所述配置面板上设有电插孔(93)、氧气接头(94)、负压接头(95)和水枪接头(96)。
相关知识
一种多功能动物护理病房系统的制作方法
一种宠物的多功能饰品的制作方法
一种多功能家用型猫树的制作方法
一种多功能宠物香波的制作方法
一种多功能智能狗屋的制作方法
一种多功能的宠物项圈的制作方法
一种多功能高效强力全能宠物护理专家液的制作方法
一种多功能宠物诊疗台的制作方法
一种自充电多功能宠物项圈的制作方法
一种多功能宠物毛发护理吸尘器
网址: 一种多功能动物护理病房系统的制作方法 https://m.mcbbbk.com/newsview391011.html
| 上一篇: 请问黄头侧颈龟是水龟还是两栖的? |
下一篇: 家养的宠物小乌龟喂什么东西啊? |